Enunciados de questões e informações de concursos

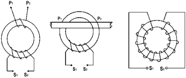
Observe os diferentes tipos construtivos de Transformadores de Corrente (TCs):

 

 

Da esquerda para a direita, são considerados, respectivamente, do tipo



spinner
Ocorreu um erro na requisição, tente executar a operação novamente.