Enunciados de questões e informações de concursos

Empresa de Pesquisa Energética
Questão 1 de 1

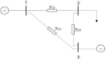
O sistema elétrico acima tem a Barra 1 escolhida como barra de referência, a Barra 2 é do tipo barra de carga e a Barra 3 é do tipo barra de geração.


Desta forma, o problema de fluxo de potência pelo método de Newton fica



spinner
Ocorreu um erro na requisição, tente executar a operação novamente.