Enunciados de questões e informações de concursos

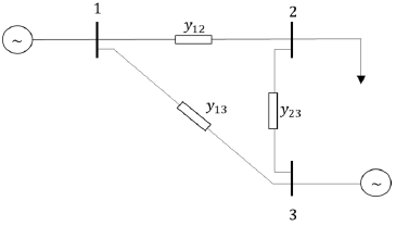
A rede elétrica pode ser representada por meio de modelo com parâmetros de admitância, que é chamado de matriz de admitância de barra (Ybarra).


Sendo assim, a matriz Ybarra, que representa o sistema elétrico acima, é dada por



spinner
Ocorreu um erro na requisição, tente executar a operação novamente.