Enunciados de questões e informações de concursos

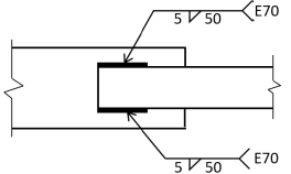
A figura a seguir ilustra uma ligação soldada de duas barras chatas, a respectiva simbologia e descrições.

 

 

Essa ligação consiste em solda:



spinner
Ocorreu um erro na requisição, tente executar a operação novamente.